6 Products
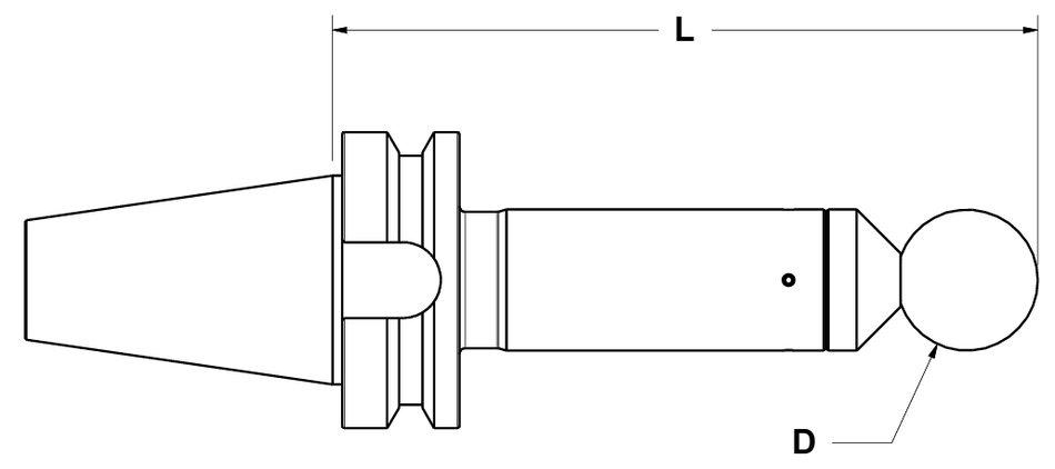
Steep Taper Standard Ball-End Runout Arbors (466.800)
Ball end spindle runout test arbors are designed checking positioning accuracy of 5-axis machines, but can also be used in place of a standard runout test bars when a shorter length is required or for a touchoff point from the spindle face (ball end is ideal for this purpose).
Filter products
The highest price is €0.00
€
€
