Custom Size/Length/Diameter
Product Details
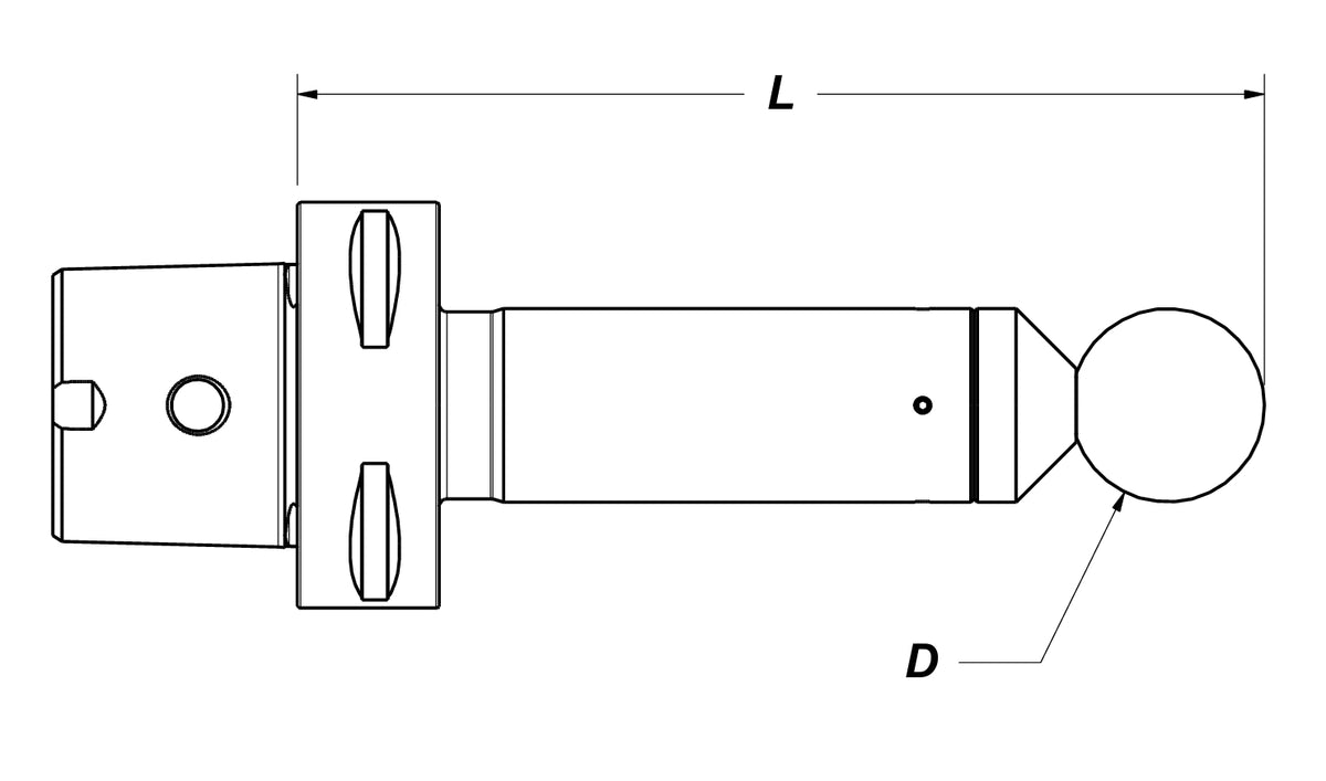
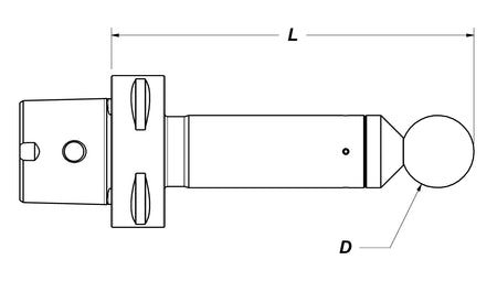
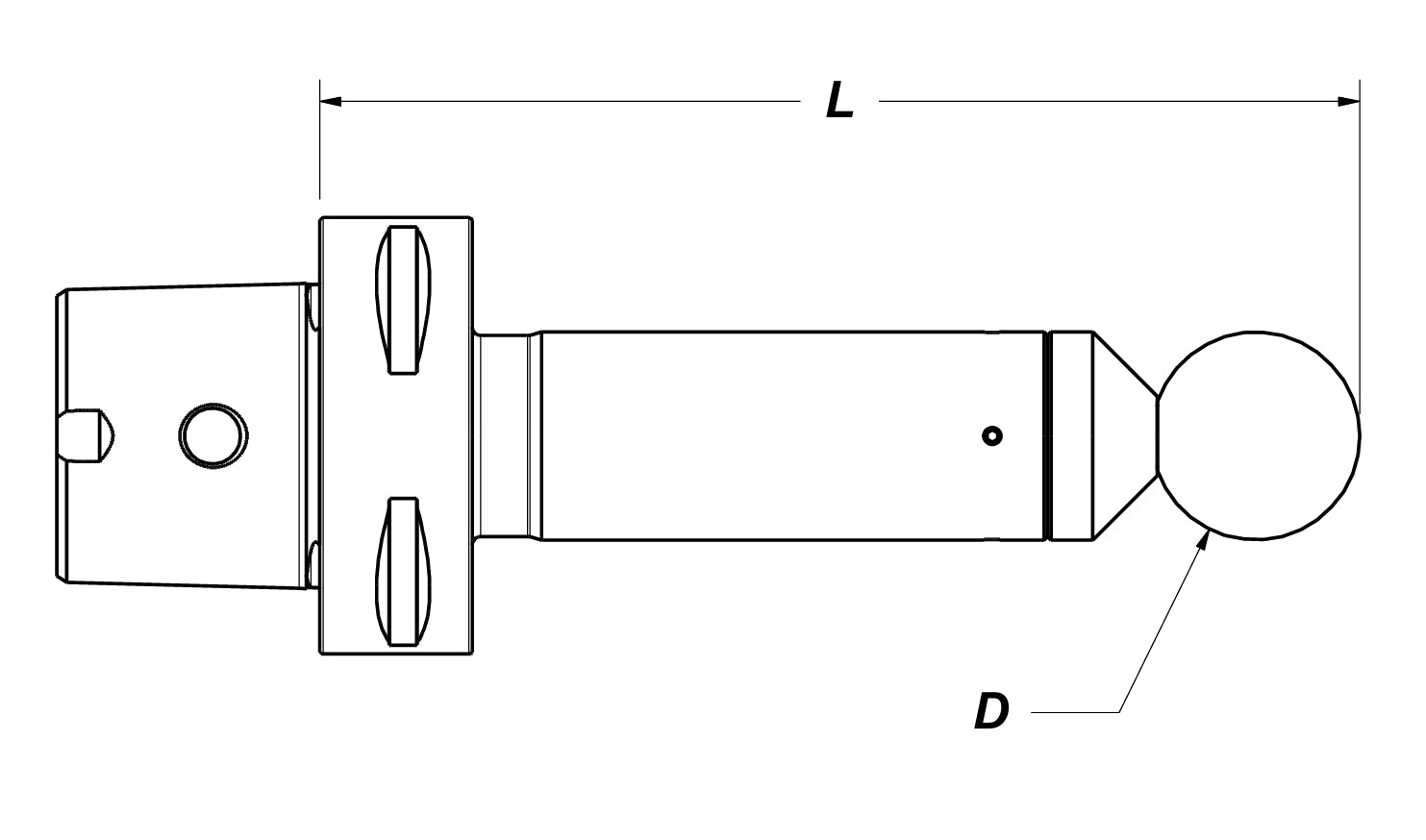
Ball end spindle runout test arbors are designed checking positioning accuracy of 5-axis machines, but can also be used in place of a standard runout test bars when a shorter length is required or for a touchoff point from the spindle face (ball end is ideal for this purpose).
- Type Standard Ball Runout Arbor
- Part Number 466.C00.SP
TAC Messtechnik Contact Details
- PDF Data Sheet:
